電源模塊SPN S40/4P 避雷器
閱讀次數:1847 發布時間:2020-09-14

電源模塊SPN S40/4P 避雷器
SPN S電源Ⅰ級電涌保護器SPD具備大的雷電流泄放能力,其設計依據符合GB18802.1,IEC61643-1技術標準;適用于交流380V(50Hz/60Hz)及以下的TN-S、TN-C-S、TT、IT等供電線路系統的雷擊電磁脈沖(LEMP)保護,用于雷擊區域的LPZOA區或LPZOB區與LPZ1區區界面處,單模塊8/20μs最大放電電流可達65~100KA,適用于低壓配電系統的一級保護。
SPN S40/4P 避雷器功能特點
1、可選遙信端子報警功能,便于遠程報警監控。
2、最高可承受80KA(8/20μs)雷電流沖擊。
3、反應速度快,動作響應時間小于25ns。
4、阻燃外殼設計,可方便地安裝在35mm電氣導軌上。
5、內置熱脫扣失效脫離裝置,使保護器因過熱、擊穿失效時能自動斷開。
6、可視告警窗口顏色表示保護的工作狀態,綠色(正常)、紅色(故障)。
SPN S40/4P 參數設置


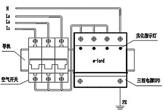
SPN S40/4P 避雷器安裝
為了限制安裝后的保護部分和不受保護的設備部分之間感應耦合,需進行一定測量。通過感應源與犧牲電路的分離、回路角度的選擇和閉合回路區域的限制能降低互感,當載流分量導線是閉合回路的一部分時,由于此導線接近電路而使回路和感應電壓而減少。
一般來說,將被保護導線和沒被保護的導線分開比較好,而且,應該與接地線分開。同時,為了避免動力電纜和通信電纜之間的瞬態正交耦合,應該進行必要的測量。
選擇安裝SPN S40/4P 浪涌保護器時,首先要考慮電網的設計。浪涌保護器的安裝位置也要考慮,它的放置位置與被保護設備間的距離要合適。如果浪涌保護器放置得離被保護設備太遠了,那就不能確保被保護設備得到有效保護;如果太近了,設備和浪涌保護器之間會產生振蕩波,而這樣,即使設備被認為是被保護的,會在被保護設備上產生巨大的過電壓。
僅因為正確安裝浪涌保護器是個簡單問題,導致許多浪涌保護器安裝位置設計不合理。安裝浪涌保護器時,首先確保它被放置在被保護設備的入口處;第二要正確安裝浪涌保護器的接地線;第三連接浪涌保護器的電纜要盡可能的短。根據此標準(一般來說),連接電纜的電感一般是1μH/m左右。所以設計該系統時,記得連接電纜要包含火線和接地線。
電源模塊SPN S40/4P 避雷器系列型號
SPN S40
SPN S40 4P
SPN S65
SPN S65 4P
SPN S440
SPN S240
SPN S465




