BEC-100B/4P 避雷器BEC-100B/4P
閱讀次數:1508 發布時間:2020-09-10
BEC-100B/4P液晶顯示界面,示值清晰,測量數據直觀易讀;BEC-100B/4P內置式、大容量,確保長時間穩定測試;BEC-100B/4P直流供電和便攜式套裝設計,歡迎詢價!

BEC- 系列產品介紹
模塊防雷器SPD的基本電路浪涌防護器(SPD)的電路根據不同的需要有不同的形式。其大體組成部分如上所述。一個精準的防雷商品制造人員能夠研發出多種元件,就像一盒拼圖能夠搭建出有所不同的構造系統。研發效能成本比不錯的配件是防雷從業員的一項關鍵使命。
BEC-產品特點
1、本質安全:全電流誤動作盲區的失效保護,避免了產品因失效而起火的安全隱患,實現了產品使用的本質安全
2、智能檢測:智能模塊具有實時監控和通信組網功能,可將防雷模塊使用壽命、雷擊及故障信息等上傳監控主機,提醒維護人員即使操作,確保浪涌防護的連續性和安全性。
3、防護效果好:集成化設計、殘壓低、浪涌防護功能強,使用壽命長。
4、操作安全:在安裝及維護人員操作的部位做了周密的設計,使操作更方便、安全。
5、功能模塊化:實現了浪涌防護的多功能模塊化,可由用戶選擇是否加入智能監控系統,使用靈活,有擴展升級空間。
6、機器人全自動化生產,有序高效,精益求精。
BEC-100B 系列技術參數
標稱放電電流In(kA):20(8/20μs)
沖擊放電電流Imax(kA):20(10/350μs)
最大持續工作電壓Uc(V):385
電壓保護水平Up(kV):≦2.0
溫度范圍:-40℃~+80℃
遙信功能:可選
老化熱脫口功能:是
外殼:聚酰胺PA6阻燃增強
單模塊尺寸(長×寬×高):90×34.3×64mm
保護模式:L-PE、N-PE
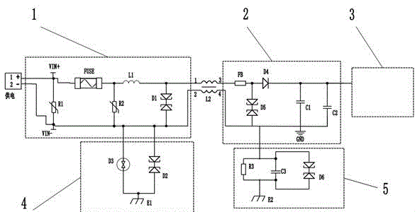
線路圖

相關型號
BEC-100B/4P、BEC-120B/4P、BEC-80B/4P、BEC-60B/4P、BEC-40C/4P、BEC-120B、BEC-100B、BEC-80B、BEC-60B
BEC- 系列SPD重要性
信息時代,集成電路互聯網以及傳輸系統愈來愈自動化,對其工作環境的要求也越來越高。大型閃電用電設施的瞬時過電壓會經由開關、雷達、無線脈沖接收器等路段入侵室內用電裝置及其因特網裝置,引發器材組件受損、人員傷亡、信息存儲及內存的阻礙遺失,半導體裝置中斷失效、裝置中止、信息存儲中止、調制解調器受損。其傷害是難以置信的,間接傷亡一般來說是間接經濟損失。
能源避雷器是借助現代機電設備防范火災的一種裝置。防雷裝置的主要類型有保護間隙、閥門式防雷裝置和氧化鋅避雷裝置。保護間隙主要用于限制大氣過電壓,一般用于配電系統、線路和變電站進線區段的保護。變電站和發電廠的保護采用閥式避雷器和氧化鋅避雷器。500kV以下系統主要用于限制大氣過電壓,在超高壓系統中,限制內部過電壓作為內部過電壓的后備保護。
BEC- 電涌保護器安全巡檢儀是使用較為廣泛的型號,它主要功能是電源避雷器(SPD)直流參考電壓的測試;放電管測試及批量放電管快速篩選;測量電源避雷器(SPD)的絕緣電阻;BEC- 電源避雷器(SPD)在線運行實際漏電流的現場測試;BEC- 系列產品更加方便作業現場使用。
下一篇:SPD避雷器CDY1-60/4P




